Ihre Services im Dashboard..
Registriert nutzen Sie das komplette Angebot.

Kreuzstücke mit Flachrundschrauben für ober- und unterirdische Verbindungen

Von Leitern in Kreuz-, Parallel- und T-Anordnung. Ausführung mit Verdrehschutz für die Montage mit einem Werkzeug.

Mit Zwischenplatte für Rund- und Flachleiter

2 Produkte

Art.-Nr. 318203 KS 8.10 8.10 FL30 ZP FRSM8 STTZN

GTIN 4013364159914, Zolltarifnr. (EU): 85359000, Bruttogewicht: 333.00 g, VPE: 1.00 Stk.


Abbildungen

Weitere Information

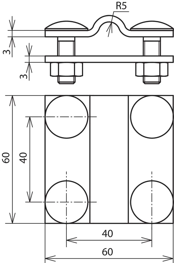
Kreuzstücke mit Zwischenplatte für Rund- und Flachleiter St/tZn
Kreuzstücke für ober- und
unterirdische Verbindungen
zum Verbinden von Leitern
in Kreuz-, Parallel- und T-Anordnung
Werkstoff Klemme: St/tZn
Klemmbereich Rd / Rd: 8-10 / 8-10 mm
Klemmbereich Rd / Fl: 8-10 / 30 mm
Klemmbereich Fl / Fl: 30 / 30 mm
Zwischenplatte: ja
Normenbezug: DIN EN 62561-1

Fabrikat: DEHN
Typ: KS 8.10 8.10 FL30 ZP FRSM8 STTZN
Art.-Nr.: 318203
oder gleichwertig.

Zertifikate

 

Technische Daten

Werkstoff Klemme St/tZn
Klemmbereich Rd / Rd 8-10 / 8-10 mm
Klemmbereich Rd / Fl 8-10 / 30 mm
Klemmbereich Fl / Fl 30 / 30 mm
Abmessung 60 x 60 x 3 mm
Normenbezug DIN EN 62561-1
Kurzschlussstrom (AC 50 Hz / DC) (1 s; ≤ 300 °C) 14 kA
*) Genaue Zuordnung siehe Prüfzertifikat.

Artikel 318203 wurde zum Merkzettel hinzugefügt.

Zum Merkzettel

Artikel 318203 wurde zum Warenkorb hinzugefügt.

Zum Warenkorb

Art.-Nr. 318229 KS 8.10 8.10 FL30 ZP FRSM8 V4A

GTIN 4013364159938, Zolltarifnr. (EU): 85359000, Bruttogewicht: 327.00 g, VPE: 25.00 Stk.


Abbildungen

Weitere Information

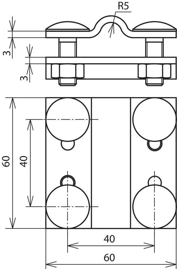
Kreuzstücke mit Zwischenplatte für Rund- und Flachleiter NIRO (V4A)
Kreuzstücke für ober- und
unterirdische Verbindungen
zum Verbinden von Leitern
in Kreuz-, Parallel- und T-Anordnung
Werkstoff Klemme: NIRO (V4A)
Klemmbereich Rd / Rd: 8-10 / 8-10 mm
Klemmbereich Rd / Fl: 8-10 / 30 mm
Klemmbereich Fl / Fl: 30 / 30 mm
Werkstoff-Nr.: 1.4571 / 1.4404 / 1.4401
Zwischenplatte: ja
Normenbezug: DIN EN 62561-1

Fabrikat: DEHN
Typ: KS 8.10 8.10 FL30 ZP FRSM8 V4A
Art.-Nr.: 318229
oder gleichwertig.

Zertifikate

 

Technische Daten

Werkstoff Klemme NIRO (V4A)
Klemmbereich Rd / Rd 8-10 / 8-10 mm
Klemmbereich Rd / Fl 8-10 / 30 mm
Klemmbereich Fl / Fl 30 / 30 mm
Klemmbereich (mehrdrähtig / Seil) 35-70 mm2
Abmessung 60 x 60 x 3 mm
Normenbezug DIN EN 62561-1
Kurzschlussstrom (AC 50 Hz / DC) (1 s; ≤ 300 °C) 7 kA
*) Genaue Zuordnung siehe Prüfzertifikat.

Artikel 318229 wurde zum Merkzettel hinzugefügt.

Zum Merkzettel

Artikel 318229 wurde zum Warenkorb hinzugefügt.

Zum Warenkorb

Ohne Zwischenplatte für Rund- und Flachleiter

2 Produkte

Art.-Nr. 318205 KS 8.10 FL30 FRSM8 STTZN

GTIN 4013364159921, Zolltarifnr. (EU): 85359000, Bruttogewicht: 249.00 g, VPE: 25.00 Stk.


Abbildungen

Weitere Information

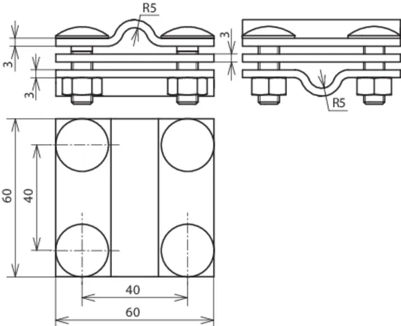
Kreuzstücke ohne Zwischenplatte für Rund- und Flachleiter St/tZn
Kreuzstücke, für ober- und
unterirdische Verbindungen
zum Verbinden von Leitern
in Kreuz-, Parallel- und T-Anordnung
Werkstoff Klemme: St/tZn
Klemmbereich Rd / Fl: 8-10 / 30 mm
Klemmbereich Fl / Fl: 30 / 30 mm
Normenbezug: DIN EN 62561-1

Fabrikat: DEHN
Typ: KS 8.10 FL30 FRSM8 STTZN
Art.-Nr.: 318205
oder gleichwertig.

Zertifikate

 

Technische Daten

Werkstoff Klemme St/tZn
Klemmbereich Rd / Fl 8-10 / 30 mm
Klemmbereich Fl / Fl 30 / 30 mm
Abmessung 60 x 60 x 3 mm
Normenbezug DIN EN 62561-1
Kurzschlussstrom (AC 50 Hz / DC) (1 s; ≤ 300 °C) 14 kA
*) Genaue Zuordnung siehe Prüfzertifikat.

Artikel 318205 wurde zum Merkzettel hinzugefügt.

Zum Merkzettel

Artikel 318205 wurde zum Warenkorb hinzugefügt.

Zum Warenkorb

Art.-Nr. 318239 KS 8.10 FL30 FRSM8 V4A

GTIN 4013364159945, Zolltarifnr. (EU): 85359000, Bruttogewicht: 244.00 g, VPE: 25.00 Stk.


Abbildungen

Weitere Information

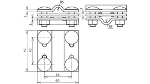
Kreuzstücke ohne Zwischenplatte für Rund- und Flachleiter NIRO (V4A)
Kreuzstücke für ober- und
unterirdische Verbindungen
zum Verbinden von Leitern
in Kreuz-, Parallel- und T-Anordnung
Werkstoff Klemme: NIRO (V4A)
Klemmbereich Rd / Fl: 8-10 / 30 mm
Klemmbereich Fl / Fl: 30 / 30 mm
Werkstoff-Nr.: 1.4571 / 1.4404 / 1.4401
Normenbezug: DIN EN 62561-1

Fabrikat: DEHN
Typ: KS 8.10 FL30 FRSM8 V4A
Art.-Nr.: 318239
oder gleichwertig.

Zertifikate

 

Technische Daten

Werkstoff Klemme NIRO (V4A)
Klemmbereich Rd / Fl 8-10 / 30 mm
Klemmbereich Fl / Fl 30 / 30 mm
Klemmbereich (mehrdrähtig / Seil) 35-120 mm2
Abmessung 60 x 60 x 3 mm
Normenbezug DIN EN 62561-1
Kurzschlussstrom (AC 50 Hz / DC) (1 s; ≤ 300 °C) 7,4 kA
*) Genaue Zuordnung siehe Prüfzertifikat.

Artikel 318239 wurde zum Merkzettel hinzugefügt.

Zum Merkzettel

Artikel 318239 wurde zum Warenkorb hinzugefügt.

Zum Warenkorb

nach oben